CUBRE-COLUMNAS DE YESO CON FIBRA DE VIDRIO

Castle fabrica componentes para la construcción hechos con yeso reforzado con fibra de vidrio para el sector comercial, institutional y viviendas de alta gama. Contamos con el más grande surtido de moldes para cubre-columnas convencionales en un rango de diámetros que van desde 8 a 60 pulgadas, cuyas alturas llegan aun máximo de 4.88 metros
- Cortos plazos de entrega
- Proveemos diseño y diagramas técnicos
- Transporte y entrega sin cargo para clientes calificados
Además tenemos un completo taller de moldes que nos permite fabricar los productos que se ajustan a vuestros específicos requerimientos. Por favor contáctenos detallando sus particulares necesidades para así obtener una cotización.
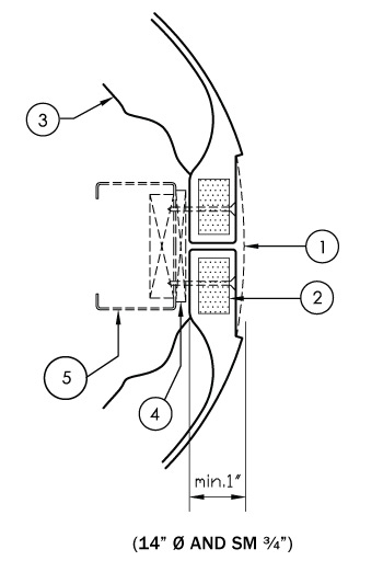
Instalación de los cubre-columnas de yeso reforzado con fibra de vidrio
Los cubre-columnas de yeso reforzado con fibra de vidrio son incombustibles y de peso ligero y generalmente se instalan con tornillos y adhesivo. Luego de atornillarse, las juntas entre las 2 mitades se encintan y se flotan juntas para crear un acabado monolítico y sin junturas. El cubre-columna está entonces ya listo para ser pintado u otras opciones de acabado. Las instrucciones para su instalación son suministradas junto a los diagramas técnicos.

| Referencia | |
|---|---|
| 1 | Cinta p/yeso reforzado |
| 2 | Madera terciada incorporada |
| 3 | Borde |
| 4 | Cuña (colocada por instalador) |
| 5 | Refuerzo estructural (realizado por el instalador) |
| 6 | Tornillos avellanados |
| 7 | Cubre-columnas de altura mayor a 14 pies serán enviadas en longitudes según las especificaciones de Castle |
| Diámetro | 12" | 14" | 16" | 18" | 20" | 22" | 24" | 26" | 28" | 30" | 32" | 34" | 36" | 40" | 42" | 46" | 48" |
| Altura | 12' - 0" | 12' - 0" | 12' - 0" | 12' - 0" | 14' - 0" | 14' - 0" | 12' - 0" | 14' - 0" | 17' - 0" | 14' - 0" | 14' - 0" | 13' - 0" | 13' - 0" | 12' - 0" | 13' - 0" | 10' - 0" | 8' - 0" |
| Diámetro | Altura |
| 12" | 12' – 0" |
| 14" | 12' – 0" |
| 16" | 12' – 0" |
| 18" | 12' – 0" |
| 20" | 14' – 0" |
| 22" | 14' – 0" |
| 24" | 12' – 0" |
| 26" | 14' – 0" |
| 28" | 17' – 0" |
| 30" | 14' – 0" |
| 32" | 14' – 0" |
| 34" | 13' – 0" |
| 36" | 13' – 0" |
| 40" | 12' – 0" |
| 42" | 13' – 0" |
| 46" | 10' – 0" |
| 48" | 8' – 0" |


